Actualités
Dopées par le Rafale et les sous-marins, les exportations d’armes françaises ont atteint 18 milliards d’euros en 2024
Les exportations d'armement de la France ont atteint 18 milliards d'euros en 2024, soit la deuxième meilleure année enregistrée par le secteur après 2022. S'il se félicite de ces résultats, le gouvernement reste lucide sur le chemin qu'il reste à accomplir pour...
Anouk Laborie devient la nouvelle directrice générale du pôle de compétitivité Aerospace Valley
Le 7 janvier 2025, à Toulouse, le conseil d’administration d’Aerospace Valley à entériner la nomination d’Anouk Laborie au poste de directrice générale du Pôle. EIle succède ainsi à Eric Giraud, qui assurait ces fonctions depuis 2021, et qui rejoint ArianeGroup, dont...
TSA monitors drone threat over San Francisco International Airport
The United States Transportation Security Administration (TSA) has used an agency-owned, small uncrewed aircraft system (sUAS) to test the threat of drones over San Francisco International Airport (SFO). TSA’s Law Enforcement/Federal Air Marshal Service (LE/FAMS) UAS...
Eric Trappier prend les commandes du groupe Dassault et succède à Charles Edelstenne
Fidèle du groupe Dassault, Eric Trappier en devient le président jeudi 9 janvier 2025, tout en conservant son poste de directeur général de Dassault Aviation. Aux commandes du succès des Rafale à l’étranger, il succède à Charles Edelstenne. La montée en grade du PDG...
Année 2025 charnière pour la filière aérospatiale qui appelle au soutien des parties prenantes
Didier Kayat - Président du GEADS et Directeur général de Daher, Guillaume Faury - Président du GIFAS et Président exécutif d’Airbus, Clémentine Gallet - Présidente du Comité AERO-PME et Présidente de Coriolis Composites, Frédéric Parisot - Délégué Général du GIFAS....
Ne faisons pas à l’aéronautique française ce qu’on a fait à l’automobile », avertit le patron d’Airbus
Si l'année 2024 a globalement permis au secteur de l'aéronautique de retrouver un niveau d'activité et de rentabilité « proche de celui d'avant-covid », « avec dix ans de carnet de commandes », le PDG d'Airbus, Guillaume Faury, n'a pas versé dans le triomphalisme à...
Élaboration d’un composite oxyde/oxyde à matrice d’aluminosilicate de baryum et fibres d’alumine
Dans l’industrie de l’aéronautique et de la défense, les applications thermostructurales nécessitent des matériaux toujours plus performants, alliant résistance mécanique, réfractarité et légèreté. Pour répondre à ces exigences, les matériaux composites à matrice...
ArianeGroup et Daher signent un nouvel accord pour une logistique spatiale optimisée
ArianeGroup, leader mondial des lanceurs spatiaux civils et militaires, et Daher, leader européen de la logistique industrielle aéronautique et spatiale, ont annoncé, le 16 décembre dernier, le renouvellement et l’élargissement de leur collaboration pour une durée de...
Rigide ou élastique ? Le matériau plastique qui change de propriétés grâce à l’impression 3D
Ces dernières années, de nombreux projets de recherche universitaire se sont tournés vers le développement de matériaux multifonctionnels grâce à la fabrication additive. Dans le domaine médical, par exemple, il est important de développer des tissus capables de...
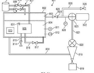
Gas management system for binder jetting additive manufacturing
A gas management system for binder jetting additive manufacturing from build material powder includes a first volume at least partly within a binder jet printer that contains gas at a first pressure. A second volume encloses a plurality of process modules configured...









