Actualités
Airbus commence les livraisons des premiers A350 avec écran tactile
Airbus commence les livraisons aux compagnies aériennes des premiers A350 équipés de nouveaux écrans tactiles. Spécialement développés pour l'A350 avec Thales, ils permettent une efficacité opérationnelle accrue, une plus grande interaction avec l'équipage, une...
Boeing suspend la production du 737 MAX
"L'incertitude autour du calendrier de re-certification du Boeing 737 MAX et les conditions de son retour en service commercial et celles autour de la formation", a conduit Boeing à suspendre la production du 737 MAX à partir du mois de janvier 2020. Suite à...
Voler sans polluer, le pari de l’aéronautique pour les prochaines décennies – L’Usine Aéro
Demain, les avions s’inspireront-ils du vol des oiseaux migrateurs pour réduire leur empreinte carbone ? C’est l’idée du projet Fello’fly d’Airbus, dévoilé en novembre : le vol en V des avions permettrait de réduire entre 5 et 10 % leur consommation en carburant....
ACTUALITE SUR LES DRONES – journal des accidents et des catastrophes
De nouveaux points d’attention concernant les drones sont à mettre en exergue. Ces nouveautés concernant la publication de deux décrets, l’un relatif à l’obligation d’emport de dispositifs de signalement électronique ou numérique et de signalement lumineux et l’autre...
La France utilise pour la première fois un drone Reaper armé – Capital.fr
C’est une première. L’armée française a utilisé, samedi 21 décembre, un drone armé pour frapper une cible à distance. L’opération a été menée dans la forêt de Ouagadougou, à 150 km au nord-ouest de Mopti, où opère le groupe de la Katiba Macina. "Les tirs ont été...
DRONE ASSISTED NAVIGATION SYSTEM FOR A VEHICLE
A includes a vehicle and a drone. The vehicle includes a sensor system, a navigation system, a map, and a receiver. The sensor system provides vehicle location data to the navigation system that locates the vehicle on a roadway represented by the map. The sensor...
BATTERY POD UNMANNED AERIAL VEHICLE
Un procédé de fonctionnement d'un aéronef selon un exemple de mode de réalisation de cette divulgation comprend, entre autres choses, la communication de la puissance d'un dispositif de stockage dans un véhicule aérien non déplacé (UAV) à un aéronef; commander un...
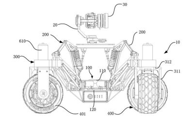
DJI pourrait lancer un drone « terrestre » tout-terrain – Tech – Numerama
Connu pour ses drones volants, DJI pourrait prochainement redescendre sur terre. C’est ce que suggère un brevet repéré par DroneDJ le 20 décembre. Où l’on découvre un produit prenant la forme d’un petit véhicule terrestre tout-terrain. Si l’on se fie à l’illustration...
Renishaw dévoile un nouveau logiciel pour améliorer la visualisation dans la fabrication additive | 3D ADEPT MEDIA
Renishaw a récemment lancé Sonic, un nouveau logiciel de surveillance des processus acoustiques qui fait partie de la suite InfiniAM de la société. Sonic permet aux ingénieurs de détecter les événements acoustiques dans la chambre de fabrication additive (FA) et de...
Additive manufacturing of multiple materials by selective laser melting: Ti-alloy to stainless steel via a Cu-alloy interlayer
The ability to combine multiple materials (MM) into a single component to expand its range of functional properties is of tremendous value to the ceaseless optimization of engineering systems. Although fusion and solid-state joining techniques have been typically used...







